| IPCop template [message #15509] |
Thu, 02 August 2007 18:34  |
marc1911
Messages: 11 Registered: August 2007
|
Junior Member |
|
|
Hi there,
I'm very impressed by OpenVZ and I'm thinking of consolidating my Linux OS's which are on VMWare to OpenVZ. This because of the lack of speed I'm experiencing. One of the things I need to overcome is the migration of IPCop v1.4.16 to OpenVZ. I'ven't found an IPCop image between the OS images on Openvz.org. Wouldn't it be great if IPCop would be available as a template? Are there any people arround that fee the same or are there perhaps any already engaged in developing such a template?
I would be really interrested!
Regards,
Marc
|
|
|
|
|
|
|
|
|
|
|
|
|
|
|
|
| Re: IPCop template [message #22552 is a reply to message #15519] |
Tue, 30 October 2007 19:01   |
nschembr
Messages: 5 Registered: October 2007 Location: pa usa
|
Junior Member |
|
|
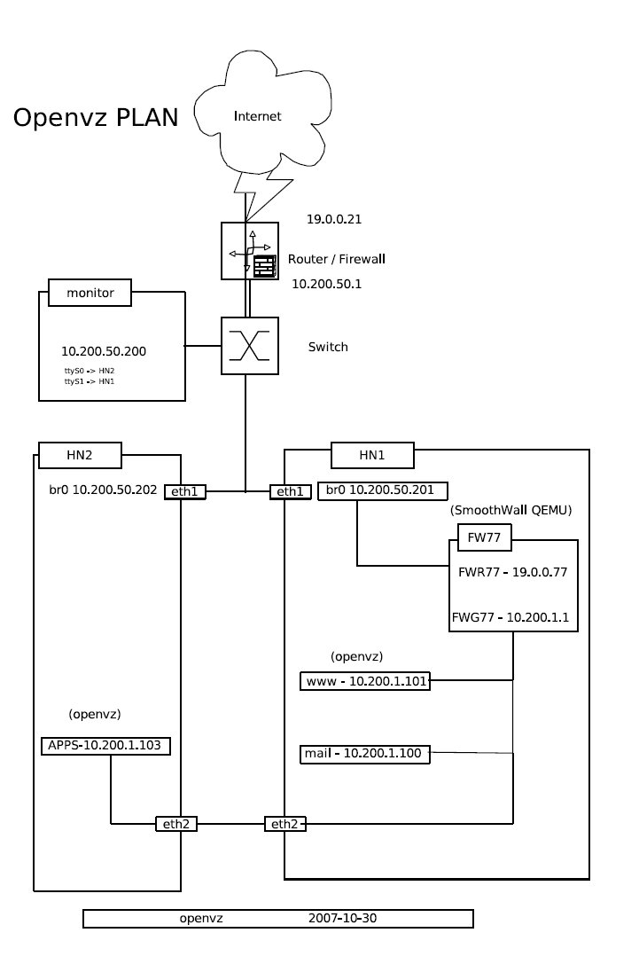
I'm going to move a UML, User Mode Linux image to openVZ. If I have time, I will try to create the template for Smoothwall, ipcop.
Smoothwall is on the 2.6 kernel. ipcop 1.5. is slated to be the first 2.6 kernel release.
Any one else working on something like this, ie. VE controlled firewall with gui and fun stuff for users to play with.
Nicholas A. Schembri
State College PA USA
|
|
|
|
|
|
| Re: IPCop template [message #22720 is a reply to message #22719] |
Fri, 02 November 2007 05:02   |
nschembr
Messages: 5 Registered: October 2007 Location: pa usa
|
Junior Member |
|
|
It looks like a strange bridge configuration. I'm going to build the bridge by hand without ip Addresses to see what I can get.
but it is now time for sleep.
Nicholas A. Schembri
State College PA USA
|
|
|
|
| Re: IPCop template [message #22760 is a reply to message #22720] |
Fri, 02 November 2007 21:22   |
nschembr
Messages: 5 Registered: October 2007 Location: pa usa
|
Junior Member |
|
|
Help. Ok, I'm stuck.
Hardware node# ipconfig
77g-br Link encap:Ethernet HWaddr 00:18:51:8C:B1:31
inet addr:10.200.1.20 Bcast:10.200.1.255 Mask:255.255.255.0
inet6 addr: fe80::218:51ff:fe8c:b131/64 Scope:Link
UP BROADCAST RUNNING MULTICAST MTU:1500 Metric:1
RX packets:2 errors:0 dropped:0 overruns:0 frame:0
TX packets:11 errors:0 dropped:0 overruns:0 carrier:0
collisions:0 txqueuelen:0
RX bytes:56 (56.0 b) TX bytes:902 (902.0 b)
br0 Link encap:Ethernet HWaddr 00:18:51:D4:35:40
inet addr:192.168.1.202 Bcast:192.168.1.255 Mask:255.255.255.0
inet6 addr: fe80::21c:c0ff:fe05:a51/64 Scope:Link
UP BROADCAST RUNNING MULTICAST MTU:1500 Metric:1
RX packets:16831 errors:0 dropped:0 overruns:0 frame:0
TX packets:9324 errors:0 dropped:0 overruns:0 carrier:0
collisions:0 txqueuelen:0
RX bytes:24588860 (23.4 MiB) TX bytes:660477 (644.9 KiB)
eth1 Link encap:Ethernet HWaddr 00:1C:C0:05:0A:51
inet6 addr: fe80::21c:c0ff:fe05:a51/64 Scope:Link
UP BROADCAST RUNNING MULTICAST MTU:1500 Metric:1
RX packets:16830 errors:0 dropped:0 overruns:0 frame:0
TX packets:10288 errors:0 dropped:0 overruns:0 carrier:0
collisions:0 txqueuelen:100
RX bytes:24892265 (23.7 MiB) TX bytes:794884 (776.2 KiB)
Base address:0x30e0 Memory:e0300000-e0320000
lo Link encap:Local Loopback
inet addr:127.0.0.1 Mask:255.0.0.0
inet6 addr: ::1/128 Scope:Host
UP LOOPBACK RUNNING MTU:16436 Metric:1
RX packets:0 errors:0 dropped:0 overruns:0 frame:0
TX packets:0 errors:0 dropped:0 overruns:0 carrier:0
collisions:0 txqueuelen:0
RX bytes:0 (0.0 b) TX bytes:0 (0.0 b)
venet0 Link encap:UNSPEC HWaddr 00-00-00-00-00-00-00-00-00-00-00-00-00-00-00-00
UP BROADCAST POINTOPOINT RUNNING NOARP MTU:1500 Metric:1
RX packets:0 errors:0 dropped:0 overruns:0 frame:0
TX packets:0 errors:0 dropped:0 overruns:0 carrier:0
collisions:0 txqueuelen:0
RX bytes:0 (0.0 b) TX bytes:0 (0.0 b)
veth101.0 Link encap:Ethernet HWaddr 00:18:51:D4:35:40
inet6 addr: fe80::218:51ff:fed4:3540/64 Scope:Link
UP BROADCAST RUNNING MULTICAST MTU:1500 Metric:1
RX packets:46 errors:0 dropped:0 overruns:0 frame:0
TX packets:55 errors:0 dropped:0 overruns:0 carrier:0
collisions:0 txqueuelen:0
RX bytes:4735 (4.6 KiB) TX bytes:4837 (4.7 KiB)
veth104.0 Link encap:Ethernet HWaddr 00:18:51:8C:B1:31
inet6 addr: fe80::218:51ff:fe8c:b131/64 Scope:Link
UP BROADCAST RUNNING MULTICAST MTU:1500 Metric:1
RX packets:996 errors:0 dropped:0 overruns:0 frame:0
TX packets:170 errors:0 dropped:0 overruns:0 carrier:0
collisions:0 txqueuelen:0
RX bytes:83173 (81.2 KiB) TX bytes:11963 (11.6 KiB)
veth105.0 Link encap:Ethernet HWaddr 00:18:51:DE:9A:89
inet6 addr: fe80::218:51ff:fede:9a89/64 Scope:Link
UP BROADCAST RUNNING MULTICAST MTU:1500 Metric:1
RX packets:936 errors:0 dropped:0 overruns:0 frame:0
TX packets:60 errors:0 dropped:0 overruns:0 carrier:0
collisions:0 txqueuelen:0
RX bytes:74816 (73.0 KiB) TX bytes:3512 (3.4 KiB)
veth105.1 Link encap:Ethernet HWaddr 00:18:51:CF:F1:7D
inet6 addr: fe80::218:51ff:fecf:f17d/64 Scope:Link
UP BROADCAST RUNNING MULTICAST MTU:1500 Metric:1
RX packets:154 errors:0 dropped:0 overruns:0 frame:0
TX packets:988 errors:0 dropped:0 overruns:0 carrier:0
collisions:0 txqueuelen:0
RX bytes:10067 (9.8 KiB) TX bytes:80629 (78.7 KiB)
hardware node#route
Kernel IP routing table
Destination Gateway Genmask Flags Metric Ref Use Iface
10.200.1.0 * 255.255.255.0 U 0 0 0 77g-br
192.168.1.0 * 255.255.255.0 U 0 0 0 br0
default 192.168.1.1 0.0.0.0 UG 0 0 0 br0
Hardware node# brctl show
bridge name bridge id STP enabled interfaces
77g-br 8000.0018518cb131 no veth105.1
veth104.0
br0 8000.001851d43540 no eth1
veth101.0
veth105.0
Smoothwall
fw77 (root) / $ ifconfig
eth0 Link encap:Ethernet HWaddr 00:18:51:EB:A2:3F
inet addr:192.168.1.212 Bcast:192.168.1.255 Mask:255.255.255.0
inet6 addr: fe80::218:51ff:feeb:a23f/64 Scope:Link
UP BROADCAST RUNNING MULTICAST MTU:1500 Metric:1
RX packets:75 errors:0 dropped:0 overruns:0 frame:0
TX packets:1338 errors:0 dropped:0 overruns:0 carrier:0
collisions:0 txqueuelen:0
RX bytes:4166 (4.0 Kb) TX bytes:107856 (105.3 Kb)
eth1 Link encap:Ethernet HWaddr 00:18:51:55:11:34
inet addr:10.200.1.1 Bcast:10.200.1.255 Mask:255.255.255.0
inet6 addr: fe80::218:51ff:fe55:1134/64 Scope:Link
UP BROADCAST RUNNING MULTICAST MTU:1500 Metric:1
RX packets:1386 errors:0 dropped:0 overruns:0 frame:0
TX packets:163 errors:0 dropped:0 overruns:0 carrier:0
collisions:0 txqueuelen:0
RX bytes:113557 (110.8 Kb) TX bytes:10319 (10.0 Kb)
lo Link encap:Local Loopback
inet addr:127.0.0.1 Mask:255.0.0.0
inet6 addr: ::1/128 Scope:Host
UP LOOPBACK RUNNING MTU:16436 Metric:1
RX packets:33 errors:0 dropped:0 overruns:0 frame:0
TX packets:33 errors:0 dropped:0 overruns:0 carrier:0
collisions:0 txqueuelen:0
RX bytes:3016 (2.9 Kb) TX bytes:3016 (2.9 Kb)
RX bytes:3016 (2.9 Kb) TX bytes:3016 (2.9 Kb)
fw77 (root) / $ route
Kernel IP routing table
Destination Gateway Genmask Flags Metric Ref Use Iface
192.168.1.0 * 255.255.255.0 U 0 0 0 eth0
10.200.1.0 * 255.255.255.0 U 0 0 0 eth1
default 192.168.1.1 0.0.0.0 UG 0 0 0 eth0
fw77 (root) / $
The fw can access 192.168.1.1. and the internet.
The VE host
root@localhost:/# ifconfig
eth0 Link encap:Ethernet HWaddr 00:18:51:27:7F:0A
inet addr:10.200.1.25 Bcast:10.200.1.255 Mask:255.255.255.0
UP BROADCAST RUNNING MULTICAST MTU:1500 Metric:1
RX packets:185 errors:0 dropped:0 overruns:0 frame:0
TX packets:1602 errors:0 dropped:0 overruns:0 carrier:0
collisions:0 txqueuelen:0
RX bytes:12383 (12.0 KiB) TX bytes:133237 (130.1 KiB)
root@localhost:/# route
Kernel IP routing table
Destination Gateway Genmask Flags Metric Ref Use Iface
10.200.1.0 * 255.255.255.0 U 0 0 0 eth0
default fw77 0.0.0.0 UG 0 0 0 eth0
root@localhost:/#
The ve host can access 192.168.1.202, 192.168.1.212 , and 10.200.1.1. but not 192.168.1.1
If I run tcpdump on the hardware node and i ping 192.168.1.1, I can see the traffic from host 10.200.1.25. This sounds like the nat on smoothwall is not working.
Diag test1 diag.pdf is true. I have changed 10.200.50.0/24 to 192.169.1.0/24 for testing.
How do you I turn on Nat inside the ve?
Nicholas A. Schembri
State College PA USA
|
|
|
|
|
|
| Re: IPCop template [message #30640 is a reply to message #22819] |
Fri, 30 May 2008 18:46  |
sjdean
Messages: 30 Registered: May 2008
|
Member |
|
|
I have three servers
1) Smoothwall
2) Fedora - DNS/DHCP/Mail/Web
3) Fedora - Asterisk
I plan to merge them altogether to save electricity, but I always fancied keeping my Smoothwall. I like the idea of OpenVZ. How easy is it all?
How did you get on with your Smoothwall setup under OpenVZ?
ta
Simon
|
|
|
|